This is my third post on ‘quantum resonance spectrometry’ (QRS), a very strange medical technology. In April I I blogged about a paper from a group of Chinese psychiatrists claiming that QRS can diagnose mental health problems.
Last week I reported that my post had inspired a Letter to the Editor questioning this claim and asking for details on how QRS works. In reply the authors said that “We know only as much as you about the work mechanism of QRS” and suggested that readers in search in details ought to consult the manufacture, “Tian Ji Quan Quantum Medical Science Development Research Institute” (http://www.tjqq.com/).
So I did. What I found was bizarre.
First off, tjqq.com is in Chinese so I browsed it in Google’s English translation. I was looking for information on what QRS actually does: how can magnets diagnose diseases? I didn’t find much. There are a few papers and clinical reports claiming amazing accuracy but none of them describe how QRS does it. I did however find something quite unexpected: tjqq.com don’t only sell medical equipment, they also sell water treatment devices. This device is some kind of quantum water filter that improves the quality of water using magnetic resonance:

What is going on here? This doesn’t sound very scientific. But I was mindful that Google’s translation might be making it sound worse than it is. So I did some more digging and I found an article by Haitao Zhang, the founding president of the TJQQ (since 1999). Here’s some highlights:
Water has extraordinary character. After contacting with matter, it can memorize the proper electromagnetic field message of matter. The water inside human body can memorize all physiological phenomena of human body. It can be detected through hair follicles, urine, blood, and saliva… The minerals and trace metals have the strong property of magnets that can maintain magnetization message after being magnetized by magnetic source
Zhang goes on to say that using quantum magnetic fields it’s possible to not just diagnose but also treat diseases, by creating “quantum life fluid” with good magnetic properties:
[we can] demagnetize the magnetization system [of water], then we put the standardization therapeutic magnetic field message to input and memorize into the water. The water can become one highly magnetic field as memorization function of “standardization therapeutic magnetic water”, i.e. quantum life fluid…
The water can be absorbed by the intestine of human body. It can enter the blood to circulate to whole body. All cells of human body can absorb it. Eventually, it can correct all abnormal magnetic fields of inside and outside cells.
This magnetized quantum life water is a veritable panacea. Zhang says that it can:
cure cancerous patients, chronic diseases, complicated diseases, or metal toxic diseases in clinic.
Yet regarding the question of how quantum resonance spectrometry actually works, the article is not very informative. It does however go into some detail into the history of the technology and I found this very helpful:
Since 1989, American scientist Ronald Wochdick developed one typical decode analysis function of high sensitivity weak magnetic field energy measurement device (MRA). After Japan introduced MRA from the United States, Japan began to develop MRA – SPECIAL and MRA – CLASSIC to sell in Japan. The basic original device is multi-waves vibration device and radio tube. In 1996, Japan developed Life Field Tester (LEA), MAX, Life Field Analyzer (LFA) AMV, and Quantum Resonance Spectrometer (QRS). In 1998, Korea also developed automatic Q-MRA type.
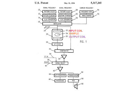
Googling “Ronald Wochdick” returns only Zhang’s article. But a little research revealed that he must be referring to the inventor (and convicted fraudster) Ronald J. Weinstock of Orange County California. He’s the holder (with his then-wife) of Patent US5317265 “Computerized magnetic resonance analyzer” (1992) and several subsequent ones on the same theme. Here’s the schematic (my annotation) from one of his patents:

According to Weinstock, the MRA (he doesn’t use the word “quantum”) is based around two coils of wire. A sample is placed near them. An input electrical current is passed through one coil, producing a magnetic field. This field may or may not produce a “magnetic resonance” in the sample. The second coil detects the magnetic field, and converts it into an output current. By comparing the input current to the output current, we can determine whether the sample is resonating. By varying the frequency of the input current, we can determine the resonance at different frequencies.
So thanks to these patents I found out what MRA is, but they still don’t explain how it works as a way to diagnose diseases. The patents assert that diseases cause characteristic changes in the magnetic resonance patterns of all kinds of tissues. No evidence for this is given, nor is there any explanation of how these changes come about. As far as I can see Weinstock has never published such evidence. He has never published a scholarly paper about MRA or anything else.
Weinstock’s patents allege that MRA technology can not only diagnose diseases, but also treat them, by correcting their magnetic resonance properties. He even says that it can be used to purify and improve water. Zhang’s “quantum life fluid” seems to have its origin in Weinstock’s brain as well.
But does Weinstock deserve the credit or did he get his watery ideas from someone else? Weinstock was linked to Masaru Emoto, the (recently deceased) Japanese author of the bestselling book Hidden Messages In Water among many others. Emoto reportedly met Weinstock in 1989 when the latter was 28 and looking for a sponsor for his invention. In fact, according to some sources, it was Emoto who came up with the name “MRA”.
This is where things get really bizarre. Emoto had some very strange ideas, most of them about water. He believed that water has an emotional “memory” and that this is revealed in the shape of the crystals that form when you freeze it. Happy memories form pretty crystals, bad memories give rise to ugly crystals (or none at all). How do you give water some memory? Easy: you just play it some music! Or pray over it. Or talk to it.
From his website, here’s a comparison between water that heard a John Lennon song, and water that was told “You disgust me!”

Emoto was widely described as pseudoscientist.
The degree to which Emoto influenced Weinstock is unclear, but in 1996, Weinstock created a form of therapeutic music, based on MRA principles, called “Hado music”. Here’s a 1996 leaflet by Weinstock about Hado and MRA. It doesn’t mention Emoto, but it’s notable that ‘hado’ is a Japanese word central to Emoto’s theories and he described himself as the chief of the Hado Institute in Tokyo.
So Weinstock had some interesting friends. He also has an interesting legal history.
In 2001, he was successfully sued for fraud by a company called Frontier who had contracted to distribute an MRA-based device in the American market. The company alleged that Weinstock promised them exclusive rights, but then sold the devices to other distributors. A jury found Weinstock guilty and ordered him to pay Frontier $3 million for lost profits. Weinstock appealed, arguing that because his device hadn’t been rigorously proven to work, it might not have generated any profits! Weinstock dismissed his own past claims about the device’s scientific basis as “self-promotion [and] anecdotal evidence.” However, he lost the appeal in 2005. But in 2010, Frontier were still in court trying to recover their money.
Weinstock later faced legal action after a separate business deal went sour. Weinstock lost that one, too. According to a legal commentator, this was partly because he undermined his own case by “time and time again refusing to appear for depositions or answer hundreds of deposition questions”. The court decried his “arrogant and contemptuous disregard for the orders of this court”. The case arose after Weinstock was fired for administering an MRA-based treatment without medical supervision, “in violation of California law”. He appealed, and lost in 2011.
So, where do we stand? I think it’s fair to say that the history and the theory of QRS / MRA does not inspire confidence about the scientific validity of the technique. But maybe it works in practice? Stay tuned for the next part of this series where I’ll find out…













